
?Introduction
The 15kV/200A shielded elbow type PT plug is made of high-quality raw materials by layered injection molding, suitable for providing operating power or connecting the high-voltage side of measuring protection transformers for electric operating mechanisms. The electrical performance of the product is superior to national standards, and the plug and unplug connection is simple and convenient. It has a reliable anti loosening device, and after installation, it forms a fully sealed and shielded structure, which is safe, beautiful, and superior in performance.
?Features
Удовлетворительное решение проблемы концентрации электрического поля в высоковольтных соединениях и повреждений внешнего экранирующего слоя кабеля?14;
Изготовлен из высококачественной резины EPDM, демонстрирующей превосходные характеристики устойчивости к электрической короне, свободному разряду и атмосферным воздействиям?5;
Прост в установке, оснащён надёжным противооткручивающим механизмом. Полностью изолированная, герметичная и экранированная конструкция?
?Model Description

?Main Electric Performance

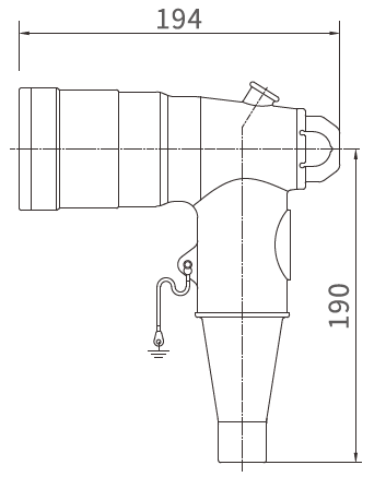
?Dimensions and Pictures

